欢迎咨询黑龙江省龙科农业科技成果转移服务中心有限公司!
累计访问量:221966
返回首页
关于我们
成果转化
新闻中心
成功案例
成果推介
联系我们
返回首页
关于我们
成果转化
新闻中心
成功案例
成果推介
联系我们
成果转化
进行中
已完成
未开始
专利
您现在的位置
:
首页
>
成果转化
> 专利
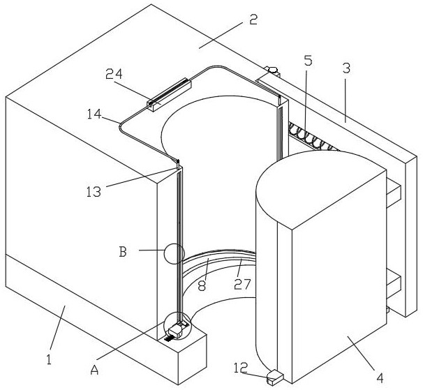
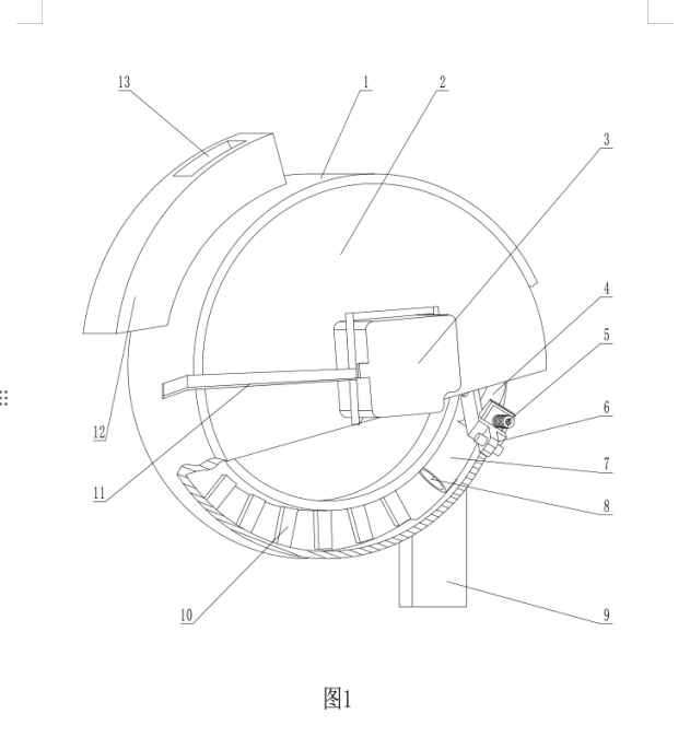
专利“一种智能化牧草切割设备发明”
距挂牌期满还有
天
拟转化金额:
10
万元
转化形式:——
是否转化:——
公示日期:2026-03-19
公示期满日期:2026-03-25
地址:哈尔滨高新区科技创新城创新三路800号国际农业科技创新中心602室
电话:0451-86677487
联系人:赵老师
专利“青贮料用自动化打包装置发明”
距挂牌期满还有
天
拟转化金额:
10
万元
转化形式:——
是否转化:——
公示日期:2026-03-19
公示期满日期:2026-03-25
地址:哈尔滨高新区科技创新城创新三路800号国际农业科技创新中心602室
电话:0451-86677487
联系人:赵老师
专利“一种提高大豆盐碱地适应能力的方法”
距挂牌期满还有
天
拟转化金额:
11
万元
转化形式:——
是否转化:——
公示日期:2026-03-16
公示期满日期:2026-03-20
地址:哈尔滨高新区科技创新城创新三路800号国际农业科技创新中心602室
电话:0451-86677487
联系人:赵老师
专利“一种用于肥育牛的复合饲料添加剂及其制备方法”
距挂牌期满还有
天
拟转化金额:
50
万元
转化形式:——
是否转化:——
公示日期:2026-02-06
公示期满日期:2026-02-12
地址:哈尔滨高新区科技创新城创新三路800号国际农业科技创新中心602室
电话:0451-86677487
联系人:赵老师
专利“马铃薯病害抗性鉴定茎基部病斑面积测量装置”
距挂牌期满还有
天
拟转化金额:
10
万元
转化形式:——
是否转化:——
公示日期:2026-02-06
公示期满日期:2026-02-12
地址:哈尔滨高新区科技创新城创新三路800号国际农业科技创新中心602室
电话:0451-86677487
联系人:赵老师
专利“一种秸秆粉碎还田方法及装置”
距挂牌期满还有
天
拟转化金额:
15
万元
转化形式:——
是否转化:——
公示日期:2025-12-24
公示期满日期:2025-12-30
地址:哈尔滨高新区科技创新城创新三路800号国际农业科技创新中心602室
电话:0451-86677487
联系人:赵老师
共38条记录
当前为第1页/共7页
上一页
1
2
3
4
...
7
下一页
返回首页
关于我们
成果转化
新闻中心
成功案例
成果推介
联系我们
地址:黑龙江省哈尔滨市高新区科技创新城创新三路800号国际农业科技创新中心602
电话:0451-86682105 0451-86677487
CopyRight © www.lkzycqjyzx.cn , All Rights Reserved 黑龙江省龙科农业科技成果转移服务中心有限公司 版权所有
黑ICP备16008126号-4
技术支持:风腾电商
黑龙江省龙科农业科技成果转移服务中心有限公司
黑ICP备16008126号-4