欢迎咨询黑龙江省龙科农业科技成果转移服务中心有限公司!  累计访问量:216836

您现在的位置 : 首页 > 成果转化 > 专利  

专利“一种移动式电磁加热烘干机”
距挂牌期满还有
评估值:10万元
挂牌价:10万元
挂牌开始日期:2025-11-24 00:00:00
挂牌期满日期:2025-11-28 00:00:00
地址:哈尔滨高新区科技创新城创新三路800号国际农业科技创新中心602室
电话:0451-86677487
联系人:赵老师

详细内容

成果研发背景及特征特性简介

一、研发背景

随着全球农业现代化进程加速,农产品产后处理环节的干燥技术成为提升产品质量、减少损耗的关键。然而,传统烘干设备在农业应用中存在诸多局限性:

1. 设备固定化与高运输成本矛盾:传统烘干机多为固定式结构,需将农产品集中运输至设备所在地,导致运输成本高、时效性差,尤其在粮食、菌类等大宗农产品产区,难以实现“产地即时烘干”,产后损失率高达15%20%。

2. 烘干模式单一:现有设备以滚筒式为主,仅适用于颗粒物料(如谷物)的翻滚烘干,而菌类、蔬菜、中药材等需静置或低温均匀干燥的农产品缺乏适配设备,易出现受热不均、活性成分破坏等问题。

3. 能耗高与环保压力:燃煤、燃油热风炉仍是主流热源,热效率不足50%,碳排放高,与“双碳”目标背道而驰;电磁加热技术虽节能,但多局限于工业场景,农业领域缺乏小型化、移动化应用方案。

4. 智能化水平低:传统设备依赖人工控温,无法精准适配不同农产品的干燥曲线(如粮食需高温快干,菌类需低温慢烘),制约品质提升。基于上述痛点,结合《“十四五”全国农业绿色发展规划》对节能农机装备的迫切需求,团队以“移动化、高效化、多场景适配”为核心目标,突破传统技术路线,研制一种移动式电磁加热烘干机,致力于解决农业干燥环节的“最后一公里”难题。

 

二、特征特性

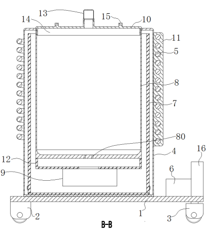
本设备通过创新设计实现“移动作业、精准控温、多物料兼容”三大突破,具体特征如下:

1. 模块化移动结构,适配农业分散场景

移动组件:采用“定向脚轮+万向脚轮”组合(定向轮转动轴与底板边平行,万向轮支持360°转向),配合矩形金属底板(载重1吨级),可在田间、仓储等不平整路面灵活移动,突破固定式设备的地理限制。

紧凑化设计:绝缘外筒(直径0.8—1.5m)、料筒与加热组件集成于单机,占地面积不足2㎡,支持车载转运,满足合作社、家庭农场等中小规模主体的分散烘干需求。

2. 电磁感应双级加热,能效提升50%

双筒加热结构:外层为耐高温绝缘外筒(阻隔热量散失),内嵌金属内筒(铁基材质,壁厚8—12mm),通过外围感应线圈产生涡流加热,金属内筒表面升温至200℃仅需5分钟,较电阻加热节能30%以上。

气流循环优化:金属内筒与料筒间设高压耐高温气泵(耐温300℃),外部空气经绝缘外筒底部进气孔进入,流经金属内筒外壁预热后,再通过气泵加压注入料筒气孔,形成“预热-加压-穿透”三级热能利用,热效率达90%。

3. 多模态干燥工艺,兼容全品类农产品

流态化烘干:针对颗粒物料(如小麦、玉米),气泵高压气流(0.5-1.2MPa)使料筒内物料悬浮翻滚,结合电磁加热(50-80℃),干燥效率较传统滚筒式提升40%,含水率可从25%降至14%以下(耗时≤4h)。

静置低温烘干:适配菌类、蔬菜等易损物料,关闭气泵增压模式,利用匀气筒(孔径2—5mm)均匀送风(温度30-60℃),配合料筒封闭结构,避免氧化变质。例如,香菇干燥可在40℃下8h内完成,色泽与多糖保留率超95%。

4.扩展功能与低成本运维

模块化扩展:可选配湿度传感器、物联网模块(4G/Wi-Fi),实现含水率实时监测与手机端远程控温,满足智慧农业需求。

耐久设计:高压气泵(无油轴承)、感应线圈(硅胶绝缘)等核心部件寿命超7200小时,运维成本较燃煤设备降低60%。

 

三、总结

专利ZL 202210374614.0一种移动式电磁加热烘干机以农业应用为核心场景,通过电磁双级加热、气流循环优化、多模态干燥等技术创新,攻克了传统设备能耗高、场景受限、物料兼容性差等难题,可显著降低粮食损耗、提升高附加值农产品(菌类、药材)加工品质。设备兼具“移动灵活、智能控温、低碳节能”特征,符合农业现代化与绿色发展趋势,预计可在粮食、菌类、特色农产品等领域形成规模化应用,推动产后干燥环节的技术革新。

拟将该专利使用权许可,拟定许可期限为自合同签订之日起至2026年12月1日,拟定许可基础价格为壹拾万元人民币。

地址:黑龙江省哈尔滨市高新区科技创新城创新三路800号国际农业科技创新中心602
电话:0451-86682105  0451-86677487  

CopyRight © www.lkzycqjyzx.cn , All Rights Reserved   黑龙江省龙科农业科技成果转移服务中心有限公司   版权所有    黑ICP备16008126号-4  技术支持:风腾电商 

黑龙江省龙科农业科技成果转移服务中心有限公司     黑ICP备16008126号-4