欢迎咨询黑龙江省龙科农业科技成果转移服务中心有限公司!  累计访问量:219461

您现在的位置 : 首页 > 成果转化 > 专利  

专利“马铃薯病害抗性鉴定茎基部病斑面积测量装置”
距挂牌期满还有
拟转化金额:10万元
转化形式:——
是否转化:——
公示日期:2026-02-06 00:00:00
公示期满日期:2026-02-12 00:00:00
地址:哈尔滨高新区科技创新城创新三路800号国际农业科技创新中心602室
电话:0451-86677487
联系人:赵老师

详细内容

马铃薯根腐病是严重影响马铃薯产量和品质的重要病害之一,该病害分布于世界各马铃薯种植区,可由一种或多种病原物引发马铃薯根腐病,目前对马铃薯根腐病抗性鉴定评价的常规方法是根据马铃薯基部病斑面积的大小作为评价抗性程度的指标,马铃薯茎基部病斑面积依靠人工用肉眼和直尺测量的方法判断检测,准确率不高,不能准确判断茎基部病斑大小,不能准确评价其抗病性,因此提供一种更加方便和准确的马铃薯茎基部病斑面积的测量装置具有重要的意义。

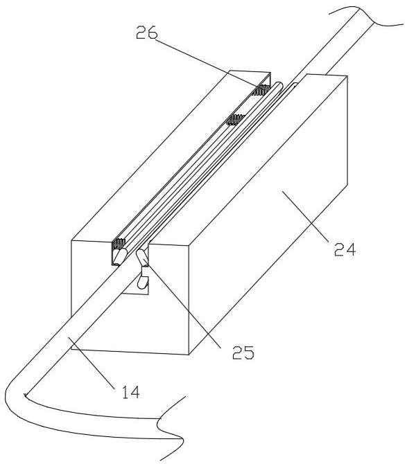
申请号为CN202122375399 .X的中国专利,提及了马铃薯根腐病抗性鉴定茎基部病斑面积测量装置,包括软性测量杆,软性测量杆一侧顶部与底部滑动连接有软性PVE条,软性PVE条一端外侧设有开槽,开槽内开设有若干孔洞,软性PVE条另一端设有测量条,测量条一端设有柱状凸块,柱状凸块与孔洞卡合连接,两个软性PVE条之间滑动连接有限位条,软性测量杆一侧设有柔性透明PVE测量片,柔性透明PVE测量片表面设有横刻度线与纵刻度线,该专利提供马铃薯根腐病抗性鉴定茎基部病斑面积测量装置,设有的软性PVE条对薯茎进行固定,通过柔性透明PVE测量片上的横刻度线与纵刻度线对病斑大小进行测量,配合软性测量杆与软性PVE条上的刻度尺对病斑大小进行准确测量。

本发明的茎基部病斑面积测量装置可以应用于多个场景,包括:

田间快速检测:用于马铃薯种植过程中病害的早期识别和抗性评估。

实验室抗性鉴定:用于马铃薯品种的抗病性筛选和育种研究。

加工与储存环节:用于检测马铃薯块茎的损伤程度,提高加工和储存效率。

农业机械集成:可与农业机械(如收获机、喷药机)结合,实现自动化病害监测和防治。

拟将此专利许可,拟定许可期限自合同签订之日起至品种退出市场,拟定许可价格10万元。

地址:黑龙江省哈尔滨市高新区科技创新城创新三路800号国际农业科技创新中心602
电话:0451-86682105  0451-86677487  

CopyRight © www.lkzycqjyzx.cn , All Rights Reserved   黑龙江省龙科农业科技成果转移服务中心有限公司   版权所有    黑ICP备16008126号-4  技术支持:风腾电商 

黑龙江省龙科农业科技成果转移服务中心有限公司     黑ICP备16008126号-4