欢迎咨询黑龙江省龙科农业科技成果转移服务中心有限公司!
累计访问量:221986
返回首页
关于我们
成果转化
新闻中心
成功案例
成果推介
联系我们
返回首页
关于我们
成果转化
新闻中心
成功案例
成果推介
联系我们
成果转化
进行中
已完成
未开始
专利
您现在的位置
:
首页
>
成果转化
> 专利
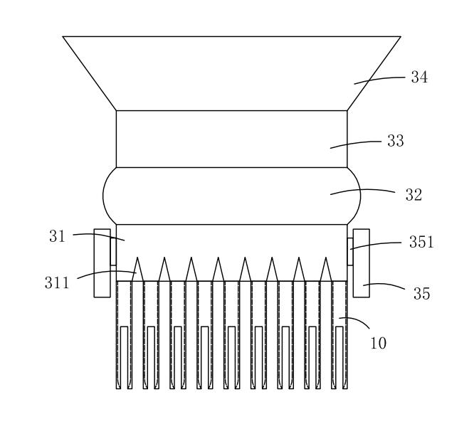
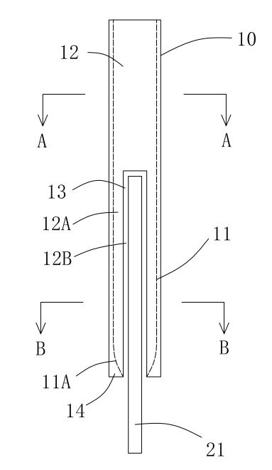
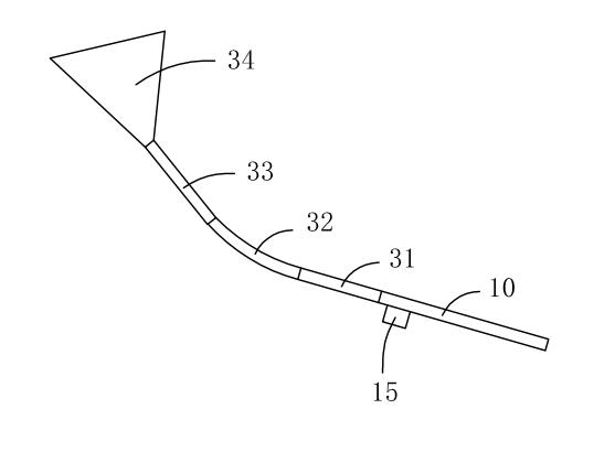
专利-一种玉米精细加工组件、装置及使用方法专利
距挂牌期满还有
天
拟转化金额:
10
万元
转化形式:
——
是否转化:——
公示日期:0000-00-00 00:00:00
公示期满日期:0000-00-00 00:00:00
地址:哈尔滨高新区科技创新城创新三路800号国际农业科技创新中心602室
电话:0451-86677487
联系人:赵老师
详细内容
返回首页
关于我们
成果转化
新闻中心
成功案例
成果推介
联系我们
地址:黑龙江省哈尔滨市高新区科技创新城创新三路800号国际农业科技创新中心602
电话:0451-86682105 0451-86677487
CopyRight © www.lkzycqjyzx.cn , All Rights Reserved 黑龙江省龙科农业科技成果转移服务中心有限公司 版权所有
黑ICP备16008126号-4
技术支持:风腾电商
黑龙江省龙科农业科技成果转移服务中心有限公司
黑ICP备16008126号-4